Guide du dosage, contrôle des lots
Contrôleur de lots
Un contrôleur de lot est un équipement électronique qui, lorsqu'il est installé avec un débitmètre approprié, mesure le volume de liquide qui s'écoule dans une conduite et contrôle une vanne pour distribuer une quantité précise de liquide dans un processus. Les contrôleurs de lots sont utilisés dans les industries de toutes tailles pour améliorer la qualité de leur produit, éliminer le gaspillage d'ingrédients et réduire le coût de la main-d'œuvre dans leur production.
Les contrôleurs de lots sont particulièrement utiles pour les entreprises opérant des processus répétitifs, tels que :
- Boulangeries industrielles ou Industries alimentaire
- Brasseries industrielles
- Fabricants de produits cosmétiques et pharmaceutiques
- Fabricants de produits chimiques diluant des concentrés ou des produits chimiques en poudre destinés à être vendus sous forme de liquide dilué.
- Les nettoyeurs commerciaux qui transvasent des produits chimiques en vrac dans des bouteilles à l'usage des employés. Conditionnement du produit fini dans des bouteilles, des fûts ou des conteneurs de vrac intermédiaires.
Avantages d'un contrôleur de lots
Les contrôleurs de lots présentent plusieurs avantages, notamment :
- Amélioration de la santé et de la sécurité au travail en évitant le déversement de liquides dangereux.
- Automatisation les tâches répétitives de distribution de liquide sans augmentation des coûts de main-d'œuvre.
- Utilisation améliorée de la main-d'œuvre existante en transformant les tâches de distribution de liquide en une « pression sur un bouton », permettant aux travailleurs de passer à d'autres tâches pendant que le contrôleur de lots fait son travail. La possibilité d'agrandir une usine de fabrication sans avoir à augmenter la masse salariale.
- Amélioration de la qualité du produit fabriqué en contrôlant plus précisément le volume des ingrédients.
- Éviter les lots gâtés qui pourraient être causés par l'ajout accidentel d'un ingrédient en excès.
- Réduction du gaspillage d'ingrédients ou de concentrés.
Conception du système de tuyauterie
Système à un étage (vanne unique)

Les systèmes à un étage utilisent une seule vanne pour le contrôle marche/arrêt du liquide. Les systèmes à un étage sont le moyen le plus simple d'implémenter un contrôleur de lots dans votre processus, mais ils ont des limites.
Dans les cas de débits élevés, un système à un étage peut être moins précis qu'un système à deux étages (deux vannes). Le principal inconvénient des systèmes à un étage est de loin les pics de pression (communément appelées coups de bélier) qui peuvent se produire lorsque le liquide est véhiculé dans des conduites de grande section, ou avec un débit élevé, ou les deux.
Dans ces systèmes, une vanne à fermeture rapide provoque l'arrêt soudain du liquide, créant une augmentation rapide de la pression et pouvant endommager les vannes, les raccords ou les pompes.
Système à deux étages (deux vannes)

Les systèmes à deux étages utilisent deux vannes pour le contrôle marche/arrêt du liquide ; avec une vanne contrôlant la majeure partie du débit de liquide et une seconde vanne assurant un contrôle précis du volume de liquide jusqu’à la fin du lot.
Le système à deux étages permet également au contrôleur de lot d'arrêter progressivement le débit de liquide, évitant ainsi les pics de pression qui pourraient endommager l'équipement. Les systèmes à deux étages (deux vannes) sont recommandés pour les systèmes dont les tailles de tuyau sont supérieures à 25 mm / 1", sauf dans les systèmes à basse pression, tels que l'écoulement par gravité à partir d'un réservoir principal.
Un autre cas où un système à un étage peut être utilisé dans des tuyaux de plus de 25 mm / 1 p” est celui des systèmes avec des tuyauteries surdimensionnés, par exemple pour les liquides à viscosité élevée.
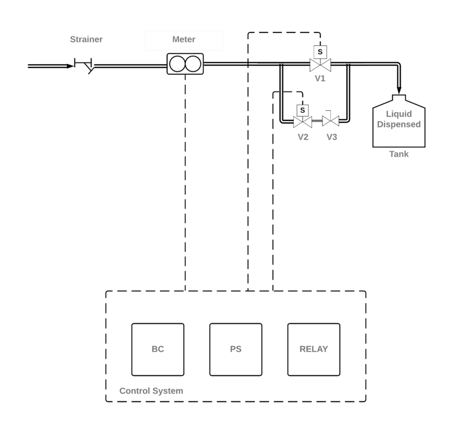
Composants du système
- M – Débitmètre
- V1 – Vanne haut débit
- V2 – Vanne bas débit
- V3 – Vanne d'étranglement à faible débit – en option ; pour contrôler le débit du circuit à faible débit afin d'optimiser la précision du lot ou de minimiser les pics de pression
- ST – Crépine/filtre – Facultatif ; recommandé pour les débitmètres à déplacement positif/engrenages ovales (par exemple, les compteurs/débimètres à roues ovales)
- Avant JC – Contrôleur de lots - EB11 ou F130.
- PS - Alimentation électrique
- Relais – Requis pour les systèmes utilisant des électrovannes à courant continu haute puissance ou des électrovannes alimentées en courant alternatif (secteur).
Disposition de l'électrovanne
Idéalement, l'électrovanne doit être située le plus près possible de la sortie de votre système de tuyauterie. Cela limitera la quantité de liquide qui doit s'écouler de votre tuyau à la fin du lot. S'il y a une grande longueur de tuyau entre l'électrovanne et la sortie, celle-ci doit s'écouler lentement à la fin de chaque lot, ce qui peut réduire la productivité de votre système automatisé. Si un nouveau lot est démarré avant que le tuyau ne soit complètement vidé, cela affectera la précision de volume de votre prochain lot.
Si l'électrovanne ne peut pas être située à proximité de la sortie de votre système, une alternative consiste à créer un "point de transfert" à la sortie de votre tuyauterie. Pour ce faire, installez un « coude en S » à l'extrémité de votre tuyauterie. Concevoir votre tuyauterie de cette manière signifie que la majorité de votre tuyauterie restera pleine à la fin d'un lot.
Disposition de la tuyauterie
Lors de la conception de la disposition de la tuyauterie pour un système de contrôle par lots, il est important de maintenir le débitmètre plein de liquide et d'éviter toute possibilité d'emprisonnement d'air dans le débitmètre ou la vanne.
Pour y parvenir, il convient de suivre les points suivants, ce qui permettra d'obtenir une précision optimale du lot et d'éviter tout problème de fiabilité :
- Le débitmètre doit être installé en amont de la ou des électrovannes
- Pour les installations verticales, le liquide doit circuler de bas en haut, c'est-à-dire qu'il doit monter verticalement à travers le débitmètre.
- Pour éviter la vidange du débitmètre, il est préférable d'utiliser une pompe à aspiration immergée, ou d'installer un clapet de pied.
Sélection des composants
Sélection du contrôleur de lot
FLOMEC® propose quatre contrôleurs de lots différents pour répondre aux différents besoins des utilisateurs.

Contrôleur de lots EB11 ‘EASYBATCH’
Recommandé pour la plupart des applications utilisant un contrôle à un étage ou à deux étages de tout liquide non inflammable, et dans des environnements sans vapeurs ou gaz inflammables.

Contrôleur de lots à sécurité intrinsèque F130
Recommandé pour toutes les applications utilisant une commande à un étage ou à deux étages de liquides inflammables ou des environnements où des vapeurs ou des gaz inflammables sont présents.

D030 contrôleur de lots à montage sur panneau Din
Utilisé pour les applications à un étage nécessitant un montage dans un panneau d'instrumentation standard DIN.

N410
Pour les utilisateurs qui souhaitent un seul équipement sans relais externes ni alimentation électrique, le contrôleur de lots N410 offre tout dans un seul package. Le N410 offre une commande à deux étages avec des relais mécaniques robustes intégrés, une alimentation secteur et un clavier numérique complet pour une saisie plus rapide des volumes de lots.
Contrôle de lots dans une zone dangereuse
Une zone dangereuse est une zone où l'atmosphère contient des gaz ou des vapeurs inflammables qui peuvent s'enflammer en cas d'étincelle ou de surface chaude. Les zones dangereuses se produisent généralement lorsqu'une entreprise manipule des liquides ou des gaz inflammables. Une zone dangereuse peut également être causée par des poussières ou des fibres combustibles.
Les zones dangereuses nécessitent le plus grand soin dans la sélection et l'installation du bon équipement certifié pour assurer la sécurité contre les explosions. Toute installation doit être effectuée par du personnel compétent spécialisé dans les systèmes électriques protégés contre les explosions. Dans la plupart des régions, elle doit également être inspectée par un inspecteur électrique spécialisé avant utilisation.
S'il n'y a aucune possibilité que des gaz/vapeurs inflammables se produisent, vous êtes dans une « zone sûre » et un contrôleur de lot EB11 est approprié.
FLOMEC recommande l'utilisation du contrôleur de lots à sécurité intrinsèque F130 en combinaison avec un débitmètre de la série OM équipé d’un contact Reed « simple apparatus » pour toutes les applications dans les zones dangereuses où les schémas IECEx ou ATEX sont acceptés.
Sélection d'un débitmètre
FLOMEC® propose des débitmètres issus d'une large gamme de technologies et de matériaux, nous permettant ainsi de proposer une solution de contrôle de lots pour presque toutes les applications liquides.
Lorsque les propriétés du liquide et le budget le permettent, il est préférable d'utiliser des débitmètres à déplacement positif dans les applications de contrôle de lots. En effet, les débitmètres à déplacement positif offrent une réponse instantanée à l'ouverture/fermeture de la vanne, ce qui contribue à la précision du lot. De plus, les débitmètres à déplacement positif ont une plage de débit de fonctionnement très large, ce qui garantit une précision optimale du lot dans les applications à deux étages où le deuxième étage à faible débit peut affecter la précision des autres technologies de mesure.
La sélection d'un débitmètre peut être une tâche complexe ; certaines recommandations de base sur les produits sont présentées ci-dessous, mais la sélection détaillée des débitmètres / compteurs ne sera pas décrite dans ce guide. Avec la large gamme de débitmètres de FLOMEC et notre équipe technique qualifiée, nous pouvons résoudre presque toutes les applications de mesure. Si les suggestions de base ci-dessous ne répondent pas à vos besoins exacts, n’hésitez pas à prendre contact avec l’un de nos conseillers par mail ou par téléphone.

Débitmètre à engrenages ovales série OM
Disponibles avec des sorties d'impulsions numériques pour se connecter à n'importe quel contrôleur de lots FLOMEC, ou avec un EB11 ou F130 intégré, les débitmètres / compteurs de la série OM sont recommandés pour de nombreuses applications de lots.
- Acier inoxydable pour l'eau, certains produits chimiques et certaines applications de solvants
- PPS (ryton) pour l'eau et certains produits chimiques (taille 25 mm/1" uniquement)
- Aluminium pour le carburant diesel et les lubrifiants, ainsi que certains solvants

Débitmètres à turbine série G2
Disponible avec sortie impulsions pour se connecter à n'importe quel contrôleur de lots FLOMEC. Les boîtiers en acier inoxydable sont adaptés à la mesure de l'eau et de certains produits chimiques..

Débitmètres à turbine série TM
Disponible avec sortie impulsions pour se connecter à n'importe quel contrôleur de lot FLOMEC. Les boîtiers en PVC sont adaptés à la mesure de l'eau..
Sélection des vannes
Lors de la sélection des vannes à utiliser avec un contrôleur de dosage FLOMEC ®, les points suivants doivent être pris en compte.
La sélection des vannes peut être un processus complexe, en particulier lorsqu'il s'agit de produits chimiques agressifs, de viscosités élevées ou de pressions de liquide élevées, il est donc recommandé à l'utilisateur de nous demander conseil.
- La sélection de V1 (vanne à haut débit) d’une taille de tuyau similaire au débitmètre est généralement une bonne règle. Cependant, si la pression de votre pompe ou de votre réservoir principal est faible, ou si le débit de sortie de votre système est critique pour votre procédé, une analyse plus détaillée est nécessaire pour s'assurer qu'une vanne appropriée est sélectionnée.
- Sélectionnez V2 (vanne à faible débit) avec 1 ou 2 tailles de tuyau inférieures à V1. Notez que votre vanne à faible débit doit produire un débit sensiblement inférieur à V1 afin d'éviter un pic de pression à la fin d'un lot. Une vanne d'étranglement installée en ligne avec V2 rendra cette sélection beaucoup moins critique, car le circuit à faible débit peut être ajusté pour éviter le pic de pression.
- Les électrovannes à action directe ou les électrovannes à action indirecte (également appelées électrovannes à commande assistée) sont les choix les plus courants, en particulier dans les systèmes utilisant des tuyaux de moins de 40 mm / 1,5".
- Pour les installations disposant d'air comprimé, il peut être plus économique d'utiliser des vannes à commande pneumatique (clapet ou boisseau par ex.), en particulier lorsque vous avez des tuyaux de grand diamètre. C'est également l'option privilégiée pour les installations de dosage de liquides inflammables car elle réduit au minimum la puissance électrique.
- Les électrovannes à action indirecte sont préférées lors de l'utilisation d'électrovannes pour la régulation / le contrôle des liquides, car elles réduisent les besoins en énergie électrique et permettent des pressions de liquide plus élevées.
- Le liquide en contact avec la vanne déterminera le matériau du corps de la vanne et des joints.
- La disponibilité de l'alimentation électrique et les préférences de l'utilisateur déterminent si une alimentation en courant continu 24 V ou en courant alternatif secteur est utilisée (230 V ou 115 V) pour le contrôle des électrovannes. Si l'on souhaite éviter des coûts et une complexité supplémentaires liés à des relais externes, il convient de choisir une vanne électromagnétique 24V ou 12V.
- Le type de vanne et la pression du liquide déterminent la puissance requise pour la bobine du solénoïde / électromagnétique. Des pressions de liquide plus élevées nécessitent une force d'ouverture plus importante sur l'électrovanne et donc plus de puissance électrique.
- Dans un système de dosage à un seul étage, une puissance de bobine inférieure à 10,8 W à 24 VDC permet à l'utilisateur d'éviter l'installation de relais supplémentaires.
- Dans un système de dosage à deux étages, une puissance de bobine inférieure à 7,2 W à 24 VDC pour les deux électrovannes permet à l'utilisateur d'éviter l'installation de relais supplémentaires.
Sélection des relais
Sélection des relais
Lors de l'utilisation d'un contrôleur de dosage FLOMEC ® avec des électrovannes haute tension en courant continu ou avec des électrovannes à tension alternative, un relais est requis. Le rôle du relais dans cette situation est de conduire la haute tension ou la haute puissance vers la vanne, tout en permettant aux sorties du contrôleur de lot de fonctionner à faible puissance en courant continu.
L'autre avantage de cette configuration est que le relais isole l'électronique du contrôleur de lot du reste du système électrique, protégeant ainsi le contrôleur des dommages potentiels causés par les surtensions, les décharges électriques, etc.
Lors de la sélection d'un relais à installer avec un contrôleur de lots FLOMEC ®, les facteurs suivants doivent être pris en compte :
- Un relais à usage général sans verrouillage doit être utilisé, un par électrovanne est requis. Ainsi, pour un système à deux étages, vous aurez besoin de deux relais.
- Les relais mécaniques représentent le meilleur choix d’un point de vue économique, mais ils auront une durée de vie limitée en raison de l'usure des contacts mécaniques. Les relais statiques offrent une durée de vie théoriquement infinie, mais à un prix plus élevé.
- Le type de relais SPST NO (unipolaire, unidirectionnel, normalement ouvert) est recommandé, mais un relais SPDT (unipolaire, bidirectionnel) est également acceptable. Si vous utilisez un relais SPDT, vous devez câbler le circuit de la bobine de l'électrovanne à l'aide de la borne NO (normalement ouverte) du relais.
- La tension nominale du relais doit dépasser la tension requise par l'électrovanne. Si votre électrovanne fonctionne sur 24VDC, sélectionnez un relais avec une tension nominale supérieure à 24VDC. Pour les charges en courant continu, la tension et le courant sont à 100 % chaque fois que la vanne est ouverte, il est donc judicieux de prévoir une marge de sécurité sur les spécifications du relais pour prolonger la durée de vie des contacts. Ceci est moins critique sur un circuit en courant alternatif car les tensions CA ne fonctionnent pas constamment à pleine tension/courant et ne sont pas aussi dommageables pour les contacts de relais.
Pour les bobines d'électrovanne en courant continu :
- La puissance nominale du relais doit dépasser la puissance requise par la bobine.
- Le courant nominal du relais doit dépasser la consommation de courant de la bobine. Si le fabricant de la vanne publie uniquement la puissance nominale de sa bobine de l'électrovanne, vous pouvez déterminer la consommation de courant à l'aide de cette équation :
- Par exemple, une bobine 24VDC avec une puissance nominale de 18W aura une consommation de courant de 18/24 = 0,75 Ampères
Pour les bobines d'électrovanne en courant alternatif :
- La puissance nominale en VA ou kVA sera publiée par le fabricant de la vanne. Le pouvoir de coupure du relais doit dépasser la puissance nominale de la bobine de l'électrovanne.
Pour les électrovannes courant continu de grande puissance ou des électrovannes courant alternatif :
- La tension de la bobine du relais doit être inférieure à 30 VDC ; les tensions de 24VDC et 12VDC sont courantes et sont toutes deux de bons choix pour une utilisation avec un régulateur de lot FLOMEC.
- La puissance de la bobine doit être inférieure à 7,2 W (la plupart des relais ont une puissance de bobine bien inférieure à cela).
Certaines options qui fonctionnent avec la plupart des électrovannes sont :
- Contact Phénix | Pièce # 2903361 Type : Relais mécanique,unipolaire,unidirectionnel, normalement ouvert Puissances CC : 250 VCC, 140 W, 6 A Puissances CA : 250 VCA, 1 500 VA Bobine : 24 VCC, 0,17 W
- Omron | Pièce # G2RV-SR700 DC24 Type : Relais mécanique,unipolaire,bidirectionnel Puissance nominale CC : 125 V CC, 180 W, 6 A Puissances CA : 440 VAC, 1 500 VA Bobine : 24 VDC, 0,3 W
- Schneider Electric | Pièce # SSM1A16BD Type : relais statique, pour charges CA, unipolaire, unidirectionnel, normalement ouvert Puissances CA : 280 VAC, 6 A Bobine : 4-32 VDC, 0,26 W
Conception d'un système de commande pneumatique
Si votre installation dispose d'un approvisionnement en air comprimé, l’utilisation des vannes à commande pneumatique pour contrôler votre débit de liquide peut être une option fiable et rentable. Lorsque les tuyaux sont de grande taille (50 mm/2 pouces et plus), les électrovannes à commande électrique peuvent devenir coûteuses. De même, les exigences de puissance pour les bobines d’électrovannes peuvent conduire à des relais et à un câblage plus gros et plus coûteux.
Opter pour la commande pneumatique de vos vannes liquides permet de réduire au minimum la puissance électrique, supprimant le besoin de relais externes et simplifiant le câblage électrique. Il existe de nombreuses façons de concevoir un système de commande pneumatique, les détails ci-dessous ne représentent qu'une méthode de conception parmi d'autres.
Nous vous recommandons les étapes suivantes car elles offrent un système simple et économique qui se ferme en cas de perte d'alimentation électrique ou de pression pneumatique.
- Une électrovanne pneumatique 3/2 normalement fermée à ressort de rappel est nécessaire pour commuter la pression pneumatique vers vos vannes de régulation de liquide. Une électrovanne pneumatique est requise pour chaque vanne de régulation de liquide. Un silencieux d'échappement sera nécessaire pour chaque électrovanne pneumatique.
- Les vannes de régulation de liquide peuvent être sélectionnées (vannes à bille, vannes papillon, vannes à siège incliné ou autres). Nous vous aiderons bien-sûr à vous aiguiller dans le choix d’une vanne adaptée aux exigences de votre procédé.
- Nous recommandons d'équiper les vannes de régulation de liquide d'un actionneur pneumatique à simple effet, fermé par ressort. Cela signifie que si la pression pneumatique est perdue en raison d'une rupture de tuyau ou d'une défaillance d’un compresseur, votre débit de liquide s'arrêtera automatiquement.
- D'autres accessoires qui peuvent être nécessaires, selon l'équipement existant installé dans votre établissement sont ; régulateur de pression, manomètre pneumatique, filtre à air, sécheur d'air.
Certaines options pour les électrovannes pneumatiques sont :
- CMS | Numéro de pièce VP342.5Y001-02FA
- Festo | Référence VUVS-LK25-M32C-AD-G14-1B2-S
Si vous travaillez avec des liquides inflammables ou dans une zone dangereuse, des électrovannes pneumatiques spécialisées seront nécessaires. Une option pour une vanne certifiée appropriée qui peut être utilisée dans les pays qui acceptent les programmes de certification IECEx ou ATEX est :
- IMI Héroïne | Numéro de pièce 9713535.2050.02400
Lors de l'installation dans une zone dangereuse, l'alimentation électrique du contrôleur de lot et des électrovannes pneumatiques doit être fournie par une barrière à sécurité intrinsèque. Cette barrière limite l'énergie électrique pouvant pénétrer dans la zone dangereuse, afin d'éviter la création d'étincelles susceptibles d'enflammer des gaz ou des vapeurs inflammables.
Glossaire
Électrovanne à action directe – Une vanne à commande électrique où le piston qui bloque l'écoulement du liquide est directement déplacé par la bobine d’électrovanne. Ce type d'électrovanne ne nécessite aucune différence de pression entre l'entrée et la sortie pour fonctionner.
Électrovanne à action indirecte – Une vanne à commande électrique qui utilise la pression du fluide pour ouvrir et fermer la vanne. Habituellement, l'élément qui ouvre/ferme la vanne est une membrane ou un piston. Ce type de vanne nécessite une différence de pression entre l'entrée et la sortie afin de fournir la force d'ouverture du siège de vanne. Ce type de vanne nécessite moins d'énergie électrique pour s'ouvrir, donc des pressions de liquide plus élevées et des vannes plus grandes sont possibles avec seulement une petite bobine d’électrovanne.
Zone dangereuse – Une zone/emplacement dans lequel une atmosphère explosive peut être présente. Une atmosphère explosive est définie comme un mélange d'air avec une substance inflammable ou dangereuse sous forme de gaz, de vapeurs, de brouillard ou de poussière. Si l'inflammation se produit dans une atmosphère explosive, due à une étincelle ou à une surface chaude, la combustion se propage à l'ensemble du mélange imbrûlé créant une explosion. Les zones dangereuses existent généralement là où des liquides inflammables, des gaz, des vapeurs ou des poussières combustibles sont utilisés ou stockés.
Zone protégée – Une zone/emplacement dans lequel une atmosphère explosive ne peut pas être présente. Les zones sûres existent généralement lorsqu'il n'y a pas de manipulation/utilisation/stockage de liquides, gaz, vapeurs ou poussières combustibles inflammables.
Clapet de pied – Une conception spéciale de clapet anti-retour, ou clapet anti-retour, qui est conçue pour être installée du côté aspiration d'une pompe (côté entrée). Les clapets de pied empêchent la vidange de la tuyauterie lorsque la pompe est éteinte, gardant la tuyauterie pleine de liquide et empêchant la pompe de perdre son amorçage.
Système alimenté par gravité – Systèmes où la pression du liquide est fournie par la gravité terrestre agissant sur un réservoir de liquide situé plus haut que la sortie du système.
Appareil simple – Un appareil simple est un composant électrique passif tel qu'un interrupteur, une boîte de jonction, des résistances, un thermocouple ou un semi-conducteur simple, avec des propriétés électriques bien définies et de faibles niveaux d'énergie stockée. Un appareil simple peut être utilisé dans certains systèmes électriques de zones dangereuses sans certification.
IECEx – Le système CEI de certification des équipements destinés à être utilisés en atmosphères explosibles. Il utilise des évaluations et des normes spécifiées par la Commission électrotechnique internationale (CEI). IECEx est le système accepté pour contrôler la sécurité des équipements électriques en zone dangereuse dans divers pays du monde, dont l'Australie et la Nouvelle-Zélande.
ATEX – "Appareils destinés à être utilisés en ATmosphères EXplosives" (Equipment intended for use in EXplosive ATmospheres).
MF – Factory Mutual, un souscripteur d'assurance aux États-Unis d'Amérique qui supervise le programme de contrôle de la sécurité des équipements électriques en zone dangereuse pour les États-Unis.
Barrière à sécurité intrinsèque – Les barrières à sécurité intrinsèque sont des dispositifs qui limitent l'énergie fournie à un circuit à l'intérieur d'une zone dangereuse. Les barrières à sécurité intrinsèque sont un dispositif de sécurité qui facilite la connexion de dispositifs à sécurité intrinsèque à l'intérieur d'une zone dangereuse à des circuits non à sécurité intrinsèque dans une zone sûre.
EXia – Abréviation désignant un équipement certifié à sécurité intrinsèque.









